人生倒计时
- 今日已经过去小时
- 这周已经过去天
- 本月已经过去天
- 今年已经过去个月
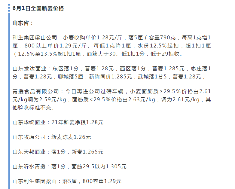
01、小麦“高开低走”
新小麦刚上市时,受到了各方主体的关注,而随着市场的抢购心态较重,今年的新小麦行情很是可观,开秤价比去年高出不少,像14水小麦达到了1.13-1.18元每斤。然而,新小麦的质量并不是太好,湖北多数小麦都达不到面粉级标准。
结果在此基础上,陈小麦的抢购需求加大,结果各大面企纷纷调高了价格,陆续涨到1.3元以上。不过伴随着北方小麦的陆续采收,且质量也在逐步提升,如今企业开始了调低价格,这让没卖粮的人惆怅不已。
从市场行情来看,今天发达集团东西区各跌1分,报价为1.28-1.285元/斤;金沙河南和、沙河分公司各跌了1分,报价为1.3元/斤;发达面粉聊城跌了0.5分,报价为1.285元/斤;发达武城跌了1.5分,报价为1.28元/斤;发达平原跌了1分,行情为1.29元/斤;大明五得利跌了5厘,报价为1.275元/斤;新乡五得利跌了1分,行情我1.25元/斤。
山东行情整体在1.25-1.32元/斤;河南报价在1.2-1.29元/斤;河北行情在1.23-1.3元/斤,其中今麦郎隆尧涨了2分,报价为1.27元/斤。
小麦的“高开低走”说到底是丰收局面已定局,后期的小麦质量较高,符合标准,因此面企这才调低了价格,对陈小麦的收购量也有所减少。不过从河南的基层粮库行情来看,新粮行情基本在1.15-1.2元/斤,预计接下来还有回落的空间。
我国的临储还有5000多万吨小麦,市场的供应足量,因此小麦后期很难上涨太多,贸易商一定要理性,别盲目高价采购小麦。
02、大米继续跌
今年的大米销售行情一直不是太好,从春节后就没有上涨过,但即便价格较低,大米的销量依旧不是太高,个别品种的米价已跌破10年来新低。而在南方区域,籼米也呈现出两极分化的局面,但总体比起去年低了0.1元,不过米糠却迎来了大幅度上涨。
从粳稻行情来看,东北地区的供应充足,且近期农户的卖粮热情较高,因此稻价不是太高, 总体才不过1.3元一斤,出厂价在1.9-2.1元/斤,但即便如此市场的走货依旧不是太好,因稻价的低迷,东北农户的种植意愿不是太高。
而籼米行情更是低迷,目前出厂价低价区已跌到了1.75-1.76元/斤,市场主流在2.05元/斤,但行情还没有触底,接下来依旧有下跌的可能,很多米企无奈,只能无奈减少籼稻的收购。
而在糯米市场,价格从4月份起就下跌,即便如今端午临近,行情依旧没有反弹的基础。至于为何,还因进口量较多,且国际上糯米行情低迷,再加上近期苏皖两地的糯稻大量上市,再次让行情下滑。
可以说,今年的大米行情整体不是太好,米企也迎来了洗牌,短期内稻谷、大米行情很难反弹。
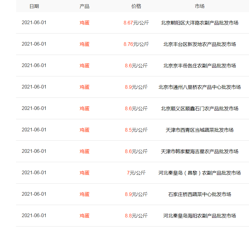
03、蛋价
从五一开始,蛋价就受刺激而反弹,总体行情也从3.9元/斤涨至4.4元/斤。而如今的鸡蛋均价为4.449元/斤,这个价格相比20年同期大涨了57%, 很多人也抱怨,为何蛋价一直持续上涨?
说到底还是今年的养殖成本较高,达到了3.9-4元/斤,蛋农们尽管有利润,但盈利并不是太多。
6月1日的主产区鸡蛋均价为4.18元/斤,主销区均价为4.48元/斤,比起上一天涨了0.07元一斤。广东地区近期的鸡蛋采购量大幅度增加,不少人纷纷囤积鸡蛋,从而让行情得以刺激上涨。
不过南方的雨水依旧比较多,鸡蛋的存储上比较困难,贸易商的采购需求低迷,不敢过多备货。但库存量不是太多,市场对端午依旧有一定的期待,蛋农们也有惜售的情绪,因此近期蛋价持续企稳,预计接下来仍有上涨的可能,但涨幅不大,顶多在0.1-0.2元/斤之间。
04、养羊要跌惨?
近期,羊肉的批发行情一直在持续低迷中,5月31日批发均价为75.53元/公斤,环比跌了0.5%。而羊肉的零售行情也低迷,目前已逐步回落到42元一斤,比起前期则是跌了3元左右。
羊肉价格之所以下滑,还因市场的销量不高,一直处在消费淡季,再加上羊肉产量增加,1-3月份产羊肉量为104万吨,同比增加了8万吨,增幅达到了8.3%,且羊肉进口同比大增24.2%,其羊肉供应宽松。
有业内人士认为,今年的养羊规模明显增加,伴随着产能的加大,养羊可能会迎来惨跌,2022年可能要跌到10元一斤。当然,2022年距离我们还很远,这个预测是否应验有待考证,不过这里也提醒大家别盲目养羊,要理性考察市场行情后再入手。
玉米价格:

